天眼查App显示,兰州核子华曦医学检验实验室有限公司由深圳市核子基因科技有限公司全资持股,西宁核子华曦医学检验实验室有限公司也由深圳市核子基因科技有限公司间接全资持股。
天眼查显示,深圳市核子基因科技有限公司成立于2012年4月,法定代表人为张核子,注册资本约3707万人民币,经营范围包括基因检测产品的技术开发;与基因相关的技术开发; 生物制品技术开发等,由张核子、巴颖、深圳市红业实业合伙企业(有限合伙)等共同持股。其中,张核子持股比例约64.7%,为第一大股东和疑似实际控制人。该公司共对外投资62家企业,其中在业、存续状态的有55家,包括深圳市核子健康科技有限公司、长沙核子华曦医学检验有限公司、深圳市核子生物科技有限公司等,版图涉及基因科技、医学检验、网络技术等。值得一提的是,核子基因投资的公司中有16家成立于今年,其中8家公司成立于今年10月,覆盖青岛、厦门、珠海、大连、海口等多个城市,西宁核子则成立于今年11月。该公司在深圳共有7家分支机构,均已注销。
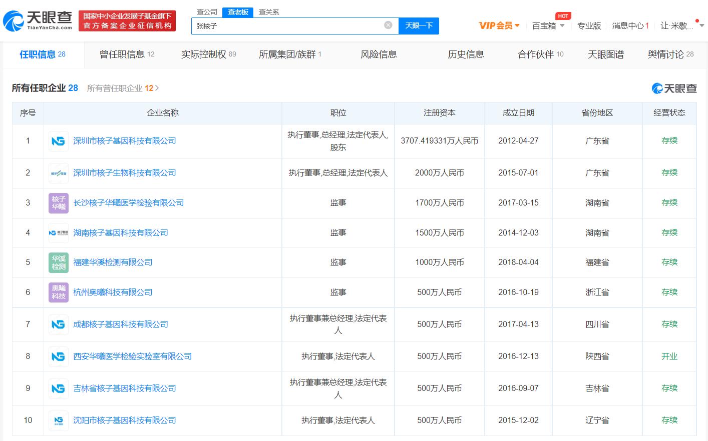
此外,核子基因的实际控制人张核子名下关联公司有30家,其中16家为开业、存续状态,包括深圳市核子生物科技有限公司、西安华曦医学检验实验室有限公司、广东华曦法医物证司法鉴定所等,版图涉及基因科技、生物科技、司法鉴定等。
值得一提的是,2021年1月,济南华曦医学检验有限公司因“谎报隆尧县核酸检测结果”一事引起广泛关注。天眼查显示,该公司由深圳市核子基因科技有限公司间接全资持股。



信息采集自网络,原文链接
海知科技-小知
海知科技-小知